關于售后

答
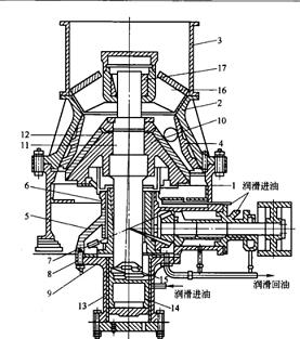
液壓式圓錐破碎機分為單缸和多缸兩種,單缸液壓圓錐碎礦機是我國的定型產品,而多缸式的應用不多。單缸式液壓圓錐碎礦及的構造如圖。

該機的構造主要有上機架即固定外錐并在內表面固定有錳鋼襯板,下機架連同軸套水平傳動軸套鑄為一體,上、下機架由螺栓固定在一起,偏心軸套下方用螺栓固定有液壓油缸。豎軸上固定有可動內錐,并在其外表面裝有錳鋼板,豎軸下部插入偏心軸套的-偏心孔中,并支撐在液壓缸的活塞上。
單缸液壓圓錐破碎機傳動機構、工作及潤滑過程與彈簧式圓錐破碎機基本相同。
液壓保險及排礦口調整裝置:單缸液壓圓錐碎礦機的保險裝置及排礦口調整裝置均為機體下面的液壓系統(tǒng),當碎礦腔中有難碎異物進入時,可動內錐所承受的壓力增大,此壓力通過豎軸傳遞給下面液壓油缸的活塞,將油壓回油箱,此時排礦口增大,難碎異物排出后油箱中的油流回液壓缸,通過液壓缸的活塞將豎軸連同可動內錐頂起恢復原位,碎礦機恢復正常工作。
該設備排礦口的調整可用調整油壓大小的方法使活塞上升、下降,促使可動內錐升、降來調整排礦口。
上一篇:什么是制砂機
下一篇:圓錐破碎機重要的組成部分及特點
溫馨提示:如您對我們的產品或其他相關問題有疑問,均可在下面提交您的問題,我們的專業(yè)人員會定期為您的問題進行專業(yè)解答。
您也可以直接撥打服務熱線: 400-006-1987/18969163618,或點擊 點擊在線咨詢
生產能力:150-600t/h
生產能力:30-70t/h
生產能力:220-700t/h
7月23日,作為中國
杭州雙金1400圓錐
為進一步開拓四川